NEXTEK VALVE SPRINGS AND RETAINERS
Manley valve springs are wound from super clean alloy. Each design minimizes stress to ensure long service life with high lift camshafts. Retainers are manufactured in our own double spindle CNC machines to exacting tolerances and precise installed height specifications. |
|
| |
| NEXTEK VALVE SPRINGS - learn more about our valve springs |
| Part No. |
Description |
Max Valve Lift |
O.D. |
I.D. |
Installed/Open Pressure |
Retainer # |
 |
| 2 Valve Stock Diameter Single Conical Ovate Wire |
 |
| 221427-16 |
Ford 4.6L, 5.4L SOHC
Street/Strip Applications |
.580" |
1.020" Top
1.125" Bottom |
.642" Top
.748" Bottom |
95 @ 1.680"
240 @ 1.130" |
23627-16
23667-16 (+.060") |
 |
| 221437-16 |
Ford 4.6L, 5.4L SOHC
Ideal for Boosted Applications |
.580" |
1.030" Top
1.175" Bottom |
.642" Top
.787" Bottom |
125 @ 1.680"
265 @ 1.130" |
23627-16
23667-16 (+.060") |
 |
| 3 Valve Single Conical Ovate Wire |
 |
| 221433-24 |
Ford 4.6L, 5.4L 3 Valve 3 Valves per Cylinder High Performance Hydraulic Roller |
.580" |
1.013" Top 1.101" Bottom |
.650" Top .738" Bottom |
110 @ 1.670" 260 @ 1.090" |
23614-24 |
 |
| 4 Valve Stock Diameter Single Conical Ovate Wire |
 |
| 221434-32 |
Ford 4.6L, 5.4L DOHC
High Performance Street/Strip |
.525" |
1.016" Top
1.126" Bottom |
.640" Top
.750" Bottom |
95 @ 1.420"
260 @ .920" |
23627-32
23667-32 (+.060") |
|
| |
| 7° TITANIUM RETAINERS - learn more about our retainers |
|
|
Valve Stem
Diameter |
|
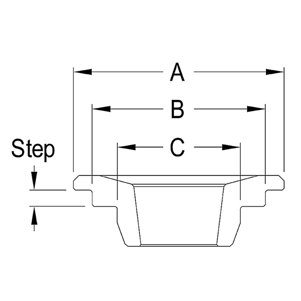
Dimensions (Retainer Step Dimension Chart) |
|
| Part # |
Quantity |
Spring |
Degree |
A |
B |
C |
Height |
Valve Locks |
 |
| 2 Valve 7° Titanium |
 |
23627-16
23667-16 |
16 pcs. |
221427-16 / 221437-16 |
7 mm |
7° |
.875" |
.627" |
.465" |
Stock
+.060" |
Manley 13089 or factory valve lock |
 |
| 3 Valve 7° Titanium |
 |
| 23614-24 |
24 pcs. |
221433-24 |
6 mm |
7° |
.875" |
.640" |
.440" |
Stock |
Manley 13088 or factory valve lock |
 |
| 4 Valve 7° Titanium |
 |
23627-32
23667-32 |
32 pcs. |
221434-32 |
7 mm |
7° |
.875" |
.627" |
.465" |
Stock
+.060" |
Manley 13089 or factory valve lock |
|
| |
| 7° MACHINED VALVE LOCKS |
 |
| Part No. |
Quantity |
Valve Stem |
Groove Type |
Angle |
Wgt./Pr. |
 |
| 13088-24* |
24 pr |
.2345" - .2355" |
Manley Bead Loc® Single Radius |
7° |
1.3 gms |
 |
| 13089-16* |
16 pr |
.2740" - .2750" |
Manley Bead Loc® Single Radius |
7° |
1.9 gms |
 |
| 13089-32* |
32 pr |
.2740" - .2750" |
Manley Bead Loc® Single Radius |
7° |
1.9 gms |
|
| * Must be used with Manley Bead Loc® single radius groove valves |